Sony heeft een patent aangevraagd op een camerasysteem met een zogeheten pellicle mirror, een semitransparante spiegel. De beoogde cameraconstructie combineert live view en de snelle autofocus van een fasedetectiesysteem.
Digitale spiegelreflexcamera's kunnen in de live view-stand momenteel alleen scherpstellen met het relatief trage contrastdetectiesysteem. Voor live view-weergave moet de spiegel immers opgeklapt zijn, zodat het licht de beeldsensor kan bereiken. Daardoor kan de spiegel echter geen licht meer op een fasedetectiesensor laten vallen.
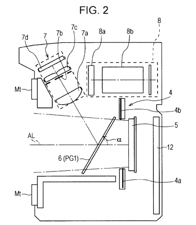
Sony heeft nu een manier gevonden om live view te combineren met fasedetectie-af. In de patentaanvraag van Sony, die op 5 augustus 2008 is ingediend en die afgelopen donderdag werd gepubliceerd, is een camera met een semitransparante spiegel beschreven. Hierbij wordt licht naar de beeldsensor doorgelaten terwijl een deel ook naar een fasedetectiesysteem in het zoekerhuis wordt weerkaatst.
Het nadeel van deze methode is dat er geen optische zoeker gebruikt kan worden, zodat een elektronische zoeker of een lcd noodzakelijk is. De spiegel is wel op te klappen, zodat een foto kan worden genomen zonder afnemende lichtopbrengst of kwaliteitsverlies door de spiegel.
De huidige Alpha A5x0- en A3x0-cameramodellen van Sony kunnen ook al live view combineren met de snelle fasedetectie-af, maar bij die camera's wordt in de live view-stand gebruikgemaakt van een tweede, kleinere beeldsensor om het beeld op te nemen. Opname van video, een steeds belangrijker wordende feature bij dslr's, is bij die twee productlijnen niet mogelijk.
De geruchten dat Sony aan een camera met een semitransparante spiegel werkt, doen al langer de ronde. Een mockup van deze camera werd op de afgelopen PMA-beurs getoond. Deze camera zou de opvolger moeten worden van de Alpha A700-dslr. Sony is niet de eerste met een pellicle-spiegel. Concurrent Canon bracht in de jaren zestig al de eerste camera met een dergelijke spiegel uit, de Canon Pellix.
