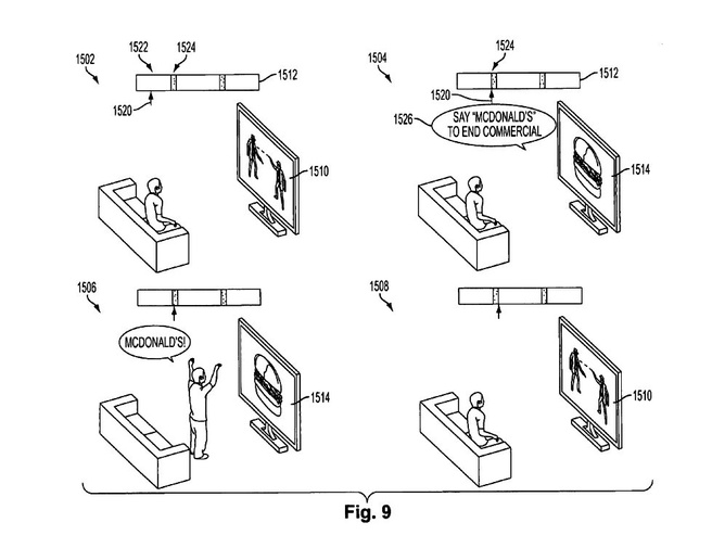
Sony heeft het patent gekregen op een methode om reclames aan te bieden die kijkers in beweging laat komen. De kijkers kunnen daarbij gebruik maken van bewegingsdetectoren als Sony's eigen PlayStation Move en Eye.
Sony heeft het octrooi gekregen op een systeem om reclame interactief te maken. In het patent, dat Sony al in 2009 indiende, wordt een methode omschreven die van de reclame's die getoond worden op televisie een soort mini-games maakt. De tv neemt daarvoor de stem en de bewegingen van de kijker waar, die opgevangen worden door Sony-apparatuur als de PlayStation Move en de bijbehorende PlayStation Eye. In de omschrijving die Sony bij de aanvraag leverde wordt ook de standaard DualShock controller gebruikt als invoermethode. Het is niet bekend of Sony plannen heeft om de in het patent beschreven systeem ook daadwerkelijk te gebruiken.
Net als vele concurrenten vraagt Sony vele octrooien aan. Zo vroeg de consolebouwer in 2011 patent aan op een systeem dat veel weg heeft van Microsofts Kinect. In hetzelfde jaar dook ook een patentaanvraag op voor een controller die veel weg heeft van die van de Wii U. Beide methodes zouden gebruikt kunnen worden in combinatie met het reclame-octrooi.
/i/1345799174.jpeg?f=imagenormal)