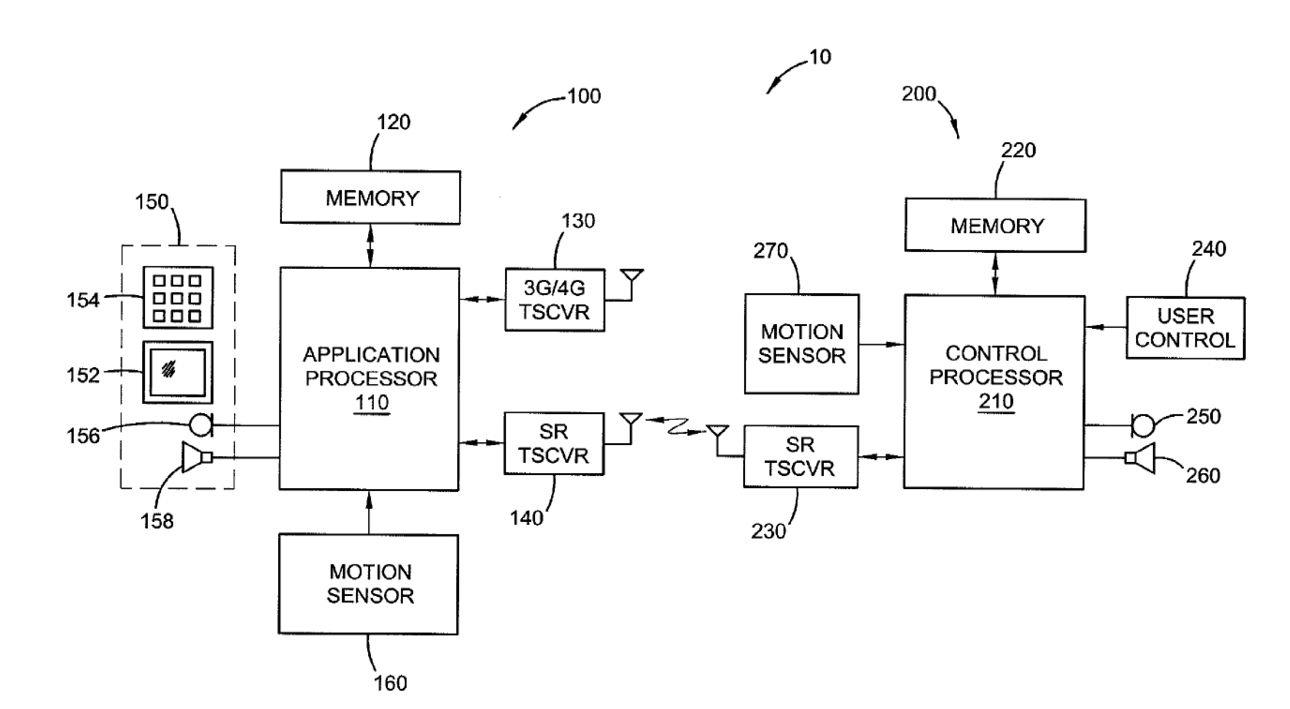
Sony heeft een patentaanvraag ingediend voor een technologie waarbij gebruikers een telefoon kunnen bedienen door hun hoofd te bewegen. De bewegingen worden gedetecteerd via een bewegingssensor in een bluetooth-headset.
Dankzij de technologie moet een gebruiker bijvoorbeeld een telefoontje kunnen aannemen door te knikken, terwijl hoofdbewegingen ook zouden kunnen worden gebruikt voor besturing van de muziekspeler en het starten van apps. Sony Ericsson heeft de patentaanvraag in 2010 ingediend, maar nu pas gepubliceerd.
De technologie werkt met een bluetooth-headset, die is uitgerust met een bewegingssensor. Die sensor registreert hoofdbewegingen en geeft die door aan de smartphone. Als die een vooraf ingegeven patroon herkent, kan een actie worden uitgevoerd.
De vinding past in de strategie die Sony lijkt toe te passen om meer soorten bediening toe te passen dan het aanraken van het touchscreen. Zo hebben diverse nieuwe Xperia-smartphones via nfc de mogelijkheid om zaken te laden via Smart Tags. Smart Tags zijn fiches met een nfc-chip. Door zo'n fiche in de auto op te hangen, kan een gebruiker bijvoorbeeld wifi uitschakelen, bluetooth inschakelen en navigatie starten zonder het scherm aan te raken. De Xperia Sola heeft 'floating touch', een tweede laag sensoren op het touchscreen, die vingerbewegingen op 2cm boven het scherm kan detecteren. Daardoor kunnen gebruikers het scherm ook bedienen met niet-geleidende handschoenen of in de browser een link aanwijzen zonder die te selecteren.
Het is onduidelijk of Sony de technologie wil gaan toepassen in een accessoire en als dat zo is, wanneer een dergelijke headset op de markt moet komen. Veel bedrijven dienen patentaanvragen in zonder de technologie ooit te gebruiken in een product dat wordt uitgebracht.
:fill(white)/i/1331891032.jpeg?f=thumb)
:fill(white)/i/1331891040.jpeg?f=thumb)