Sony heeft in Japan een patent aangevraagd op een camerasysteem met twee semitransparante spiegels en een additionele beeldsensor. Met de constructie zou de zogeheten viewfinder black-out in de burststand geëlimineerd worden.
Bij een conventionele spiegelreflexcamera wordt bij het afdrukken het beeld door de zoeker kort verduisterd vanwege het opklappen van de spiegel voor de beeldsensor. Ook het af-systeem verliest daardoor het onderwerp tijdelijk uit het oog.
Bij de Alpha SLT-camera's van Sony is de bewegende spiegel vervangen door een vaste constructie. De semitransparante spiegel weerkaatst 30 procent van het licht naar de af-module, terwijl de rest van het licht direct op de sensor valt. De af-module kan daardoor continu de scherpstelling verzorgen, maar er vindt nog steeds een korte viewfinder black-out plaats.
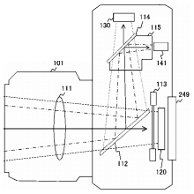
Met de nieuwe constructie, beschreven in de patentaanvraag van Sony en te zien op Egami, is ook het op zwart gaan van het zoekerbeeld tijdens het afdrukken te voorkomen. 30 procent van het invallende licht wordt in plaats van schuin naar voren, zoals bij de huidige SLT-camera's van Sony, recht naar boven weerkaatst. Een tweede, vaste spiegelconstructie leidt weer een klein deel van dit weerkaatste licht naar een fasedetectie-af-module. Het overgebleven deel valt op een secundaire beeldsensor erboven.
Bij het afdrukken wordt tijdens het uitlezen van de beeldinformatie van de hoofdsensor kort het beeld dat afkomstig is van de tweede beeldsensor getoond in de zoeker of op het scherm aan de achterkant. Een nadeel van de dubbele spiegelconstructie kan echter zijn dat op de af-module minder licht valt dan bij de huidige SLT-modellen.
Voor onder meer zijn Alpha A300- en A350-dslr's maakte Sony ook gebruik van een secundaire beeldsensor. Deze werd bij die modellen echter gebruikt voor het leveren van het live-view-beeld, terwijl voor het afdrukken een conventionele spiegelconstructie werd gebruikt. Het opnemen van video was met deze camera's niet mogelijk.
