Nikon heeft een patentaanvraag ingediend voor een extra display in de zoeker van de dslr. Dit display toont een continu beeld dat door een extra lens en beeldsensor wordt opgepikt. Nikon ziet vooral een toepassing voor sportfotografie.
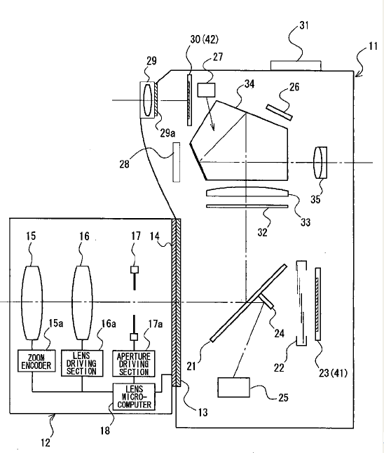
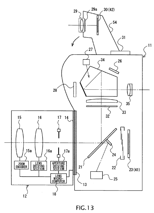
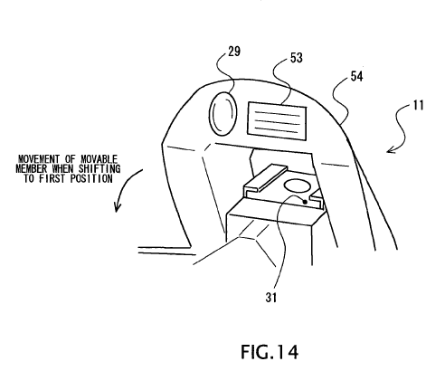
De secundaire lens en beeldsensor zijn van een klein formaat en kunnen in de bovenkant van het zoekergedeelte worden ondergebracht, maar ook inbouw in een opklapbare flitser is mogelijk. Volgens de patentaanvraag van Nikon geeft de secundaire beeldsensor het resulterende live-view-beeld door aan een lcd die in het zoekerhuis achter de pentaprism is geplaatst. Via dit pentaprism ziet de fotograaf door de zoeker dus het digitale beeld van de lcd met daarover heen geplaatst het standaard analoge beeld dat binnenvalt via de verwisselbare lens en het spiegelhuis. Voor de berekening van sluitertijden, diafragma en iso-waarden werken het analoge en digitale gedeelte met elkaar samen.
Door deze constructie is het mogelijk om met een telelens in te zoomen, terwijl een breder live-view-beeld erachter wordt getoond voor meer overzicht. Zo kan bijvoorbeeld bij snelle balwisselingen bij een voetbalwedstrijd snel weer de bal worden gevonden als deze tijdelijk buiten het analoge beeld valt. Met een statusbalk linksboven kan dan de actuele zoomstand van de lens worden weergegeven.
De toepassing van een secundaire beeldsensor wordt door Sony al gebruikt in zijn nieuwe Alpha A300- en A350-dslr's voor snel focussen tijdens de live-view-weergave. Dat systeem werkt echter met een pentamirror-ontwerp, waarbij een van de spiegels in het zoekerhuis gekanteld wordt, waardoor het beeld valt op een secundaire beeldsensor. Het voordeel van het live-view-systeem van Sony is een eenvoudiger constructie, maar daar staat een kleiner zoekerbeeld tegenover.
Nikon maakte maandag tevens zijn jaarcijfers bekend. Zo steeg de verkoop van dslr's het afgelopen jaar van 2,09 miljoen naar 3,09 miljoen stuks, terwijl ook het aantal verkochte Coolpix-compactcamera's steeg van 5,92 miljoen in 2007 naar 8,55 miljoen in het afgelopen jaar. De verkoop van lenzen toonde tevens een flinke groei. Zo werden het afgelopen jaar 4,45 miljoen lenzen aan de man gebracht, terwijl dit een jaar geleden nog 2,64 miljoen lenzen bedroeg. De omzet van de fotografiedivisie steeg dit jaar naar 586 miljard yen, terwijl er vorig jaar nog 449 miljard yen werd omgezet. De winst steeg op zijn beurt van 45,7 miljard yen naar 84 miljard yen. De prognoses voor het komende jaar laten echter vreemd genoeg slechts lichte groei zien. Verwacht wordt dat Nikon tussen nu en de Photokina 2008-fotografiebeurs in september, de D90, opvolger van de succesvolle D80, en de studio- en landschapscamera D3X zal uitbrengen.
/i/1210689663.gif?f=thumb)
/i/1210689664.gif?f=thumb)
/i/1210689665.gif?f=thumb)
/i/1210689666.gif?f=thumb)
/i/1210689667.gif?f=thumb)