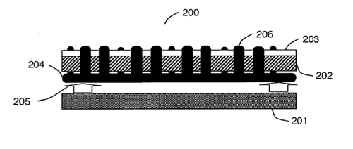
Apple heeft diverse patenten ingediend op het gebied van schermtechnologie. In een daarvan spreekt de fabrikant van reliëf in een touchscreen, waardoor de gebruiker het onscreentoetsenbord niet alleen kan zien, maar ook kan voelen.
Met het reliëf moeten gebruikers het toetsenbord makkelijker kunnen bedienen zonder er de hele tijd naar te hoeven kijken, valt op te maken uit het patent. De bobbeltjes zijn niet continu te voelen, maar komen alleen naar boven als de software het vereist.
Een ander patent spreekt van de randen rondom om het scherm als secundair scherm, waarin bijvoorbeeld bedieningsknoppen kunnen worden weergegeven. HTC doet ongeveer hetzelfde met zijn tablet Flyer, waar de voor Android benodigde knoppen op een andere plek met ledjes worden weergegeven als het scherm wordt gedraaid.
Hoewel de patenten nu zijn gepubliceerd, betekent dat niet dat de techniek wordt toegepast in de eerstvolgende iOS-producten. Vaak gaat er nog de nodige ontwikkeltijd overheen voordat een techniek daadwerkelijk wordt toegepast. Er zijn nog niet eerder geruchten geweest dat een van de in de patenten beschreven technieken gebruikt gaat worden in de volgende iPhone of iPod touch. Apple zou ook bezig zijn met een combinatie van een lcd en een scherm van elektronische inkt, bleek uit een eerder patent.
:fill(white)/i/1302254824.jpeg?f=thumb)
:fill(white)/i/1302254866.jpeg?f=thumb)
/i/1302254884.png?f=thumb)