Apple heeft aan de nieuwe MacBook Pro een extra laagje plastic toegevoegd, dat volgens iFixit bedoeld is om stof buiten te houden. De toetsenborden van de MacBook Pro-laptops hadden tot op heden een probleem dat vuil ervoor kon zorgen dat ze minder goed werkten.
Het laagje plastic werd ontdekt toen iFixit bezig was met zijn teardown van de nieuwe MacBook Pro. Het bedrijf vond een laagje plastic dat de Butterfly-mechanismes van de toetsen bedekt en suggereert dat dit plastic is bedoeld om te voorkomen dat er vuil en stof onder de toetsen kan ophopen.
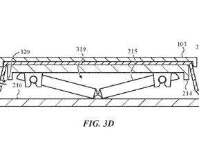
Om zijn stelling te onderbouwen, verwijst iFixit naar een patent dat Apple in 2016 heeft ingediend en in maart is gepubliceerd. Het patent beschrijft een toets die is uitgerust van een extra laagje bescherming om verontreinigingen van de toets weg te houden.
Het Butterfly-toetsenbord van de MacBook Pro-modellen van 2016 en nieuwer komt al een tijdje regelmatig terug in het nieuws, omdat veel gebruikers klagen dat hun toetsenborden met problemen kampen. Nadat het tot een rechtszaak kwam, heeft Apple besloten de toetsenborden gratis te gaan repareren.
Apple heeft deze week de nieuwe MacBook Pro aangekondigd. De veranderingen blijven grotendeels beperkt tot specbump naar Intel Core-processors van de achtste generatie en een verbeterd scherm. De laptops zijn ook voorzien van een derde generatie van het Butterfly-toetsenbord, maar Apple vermeldde enkel dat deze stiller typt dan zijn voorganger.
IFixit speculeert dat de extra stilte enkel een bij-effect van het plastic laagje is. Het bedrijf geeft aan dat het gaat onderzoeken of het membraan daadwerkelijk helpt in het weghouden van stof en het daar volgende week, samen met de volledige teardown van de nieuwe MacBook Pro, meer informatie over uitbrengt.
:strip_exif()/i/2002098475.jpeg?f=imagemedium)
/i/2002098477.png?f=imagemedium)