Google heeft in de VS een patent aangevraagd waarin het technologie beschrijft om allerhande auto-elektronica via gebaren aan te sturen. Onduidelijk is nog hoe Google de technologie in de praktijk wil gaan gebruiken.
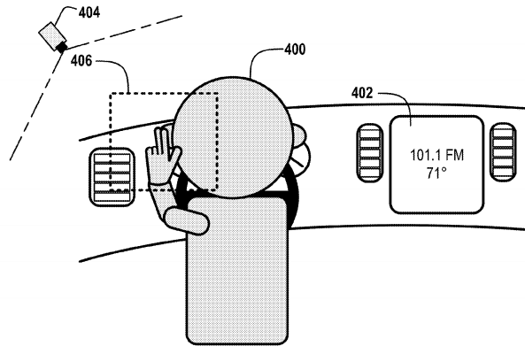
De patentaanvraag, die bij de Uspto is te bekijken, beschrijft hoe met behulp van een dieptecamera die in het autodak is verwerkt en een laserscanner onder andere hand-, vinger- arm-, hoofd- en beenbewegingen van de chauffeur en een eventuele inzittende in 3d kunnen worden gescand. Door bijvoorbeeld een swipe-beweging te maken in de buurt van het elektrisch aangestuurde autoraam, zal dit geopend of gesloten worden. Ook zouden swipebewegingen bij de radio uitgevoerd kunnen worden, bijvoorbeeld om het volume aan te passen of de zender te wijzigen, terwijl met het opsteken van enkele vingers het geluid uitgezet kan worden.
Onduidelijk is nog of en hoe Google de technologie concreet wil gaan toepassen in auto's. Het bedrijf is al enige tijd bezig om autonoom rijdende auto's te ontwikkelen en het werkt samen met enkele autofabrikanten. Daarnaast werd donderdag bekend dat Google een bedrijf voor bewegingsherkenning met webcams heeft overgenomen. Wellicht kan de technologie van het ingelijfde Flutter ook ingezet worden voor de bewegingsherkenning die in de patentaanvraag wordt beschreven.
