Apple heeft een patent toegewezen gekregen dat een magnetische voedingsplug voor elektronische apparaten beschrijft. De voedingsplug wordt al enige tijd in de laptops van het bedrijf gebruikt.
Het patent werd op 26 september 2005 aangevraagd, maar is pas op 1 april van dit jaar toegewezen. In het patent staat omschreven hoe een voedingsplug door middel van magnetisme contact kan maken en in contact kan blijven met een voedingsingang. De tot stand gebrachte verbinding wordt vervolgens gebruikt om een laptop van stroom te voorzien en eventueel de laptopaccu op te laden.
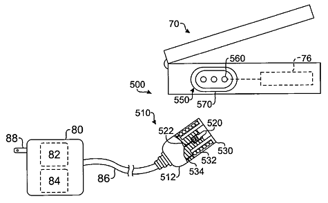
Apple gebruikt sinds de introductie van de Intel-Mac een magnetische voedingsplug in de lichtnetadapters van zijn laptops. Het zogeheten 'Magsafe'-netsnoer moet voorkomen dat een laptop wordt gelanceerd als iemand over het snoer struikelt: de plug zal in een dergelijk geval simpelweg van de computer loskomen. De Macbook, de Macbook Pro en de Macbook Air maken gebruik van dezelfde Magsafe-connector. De Macbook Air heeft vanwege zijn design wel een netsnoer met een afwijkende plug.
