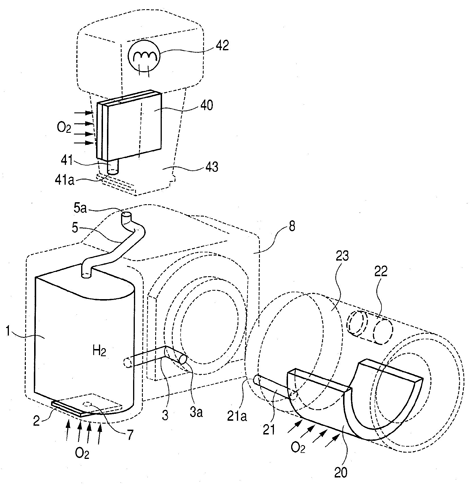
Canon heeft een patent aangevraagd voor een dslr-systeem waarbij de body, de flitser en het objectief elk voorzien zijn van een brandstofcel. De brandstof, waterstof, wordt centraal opgeslagen.
Volgens patentaanvraag US 2008/0180565, die al in januari dit jaar is ingediend maar nu pas is gepubliceerd, heeft Canon een systeem voor ogen waarbij elk onderdeel afzonderlijk, zoals de dslr-body een opzetflitser of een lens, een brandstofcel bevat, die is toegesneden op het energieverbruik van dat onderdeel. Een centrale opslag van waterstof voorziet de verschillende brandstofcellen gecontroleerd van brandstof. Met behulp van zuurstof uit de lucht vindt een chemische reactie plaats waarbij energie vrijkomt. Met deze energie worden accu's in de diverse dslr-onderdelen opgeladen, die vervolgens de energie voor bijvoorbeeld de flitser of de scherpstelmotor leveren.
Canon denkt met dit centrale systeem voor energiemanagement de elektronica in een dslr te kunnen versimpelen en efficiënter met energie om te gaan. Daarnaast hoeven fotografen alleen maar acht te slaan op het waterstofniveau in de dslr-body, in plaats van dat op de batterijmeter van afzonderlijk de body en de flitser moet worden gelet. Ook hoeven fotografen geen batterijen van de flitser meer te verwisselen.
Een nadeel van het systeem is dat nieuwe lenzen en flitsers nodig zijn om optimaal van het ontwerp te kunnen profiteren - al kunnen oudere lenzen en flitsers volgens de patentaanvraag nog wel gemonteerd worden - en dat de toevoer van waterstof naar de flitser en de lens extra ruimte inneemt. Ook kan de waterstoftoevoer voor extra complicaties zorgen.
