Bill Gates en een aantal andere onderzoekers staan als uitvinders vermeld op een vijftal patenten omtrent orkaan-preventie in de Mexicaanse Golf. Het zou de bedoeling zijn om warm oppervlaktewater af te koelen met water dieper uit de zee.
De patenten werden ingevoerd door Searete LLC, dat onderdeel is van Intellectual Ventures. Nathan Myhrvold, voormalig technologie-hoofd bij Microsoft, is mede-oprichter van Intellectual Ventures. Naast Bill Gates worden ook Nathan Myhrvold en andere, onbekende onderzoekers genoemd op de patenten als de uitvinders. De patenten bestaan al sinds eind 2008, maar werden onlangs pas publiek gemaakt, waarna 'patentwatcher' theodp de patenten opmerkte.
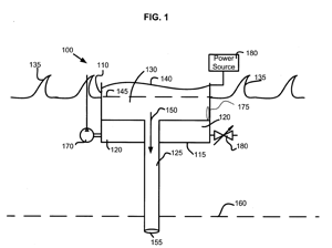
De patenten omschrijven een manier om het relatief warme zeewater dat zich aan de oppervlakte bevindt dieper de zee in te pompen, om zodanig de temperatuur van het oppervlaktewater te doen afnemen. Hierbij wordt gebruik gemaakt van het fenomeen dat 'thermocline' heet, waarbij de temperatuur sterk afneemt bij een kleine toename van de diepte, waardoor het verschil in temperatuur al snel 15 graden Celsius bedraagt.
Het apparaat dat hiervoor ingezet wordt heeft de vorm van een grote badkuip met wanden die boven de zee uitsteken, zodat alleen golven zeewater in de kuip kunnen deponeren. De kuip heeft echter genoeg drijvend vermogen zodat het waterniveau in de kuip hoger ligt dan dat van de zee. Hierdoor wordt overdruk gecreëerd, zodat water automatisch via een slang omlaag wordt gepompt. De stelling in het patent is dat, mits er genoeg badkuipen over een groot gebied ingezet worden, de temperatuur aan de oppervlakte af zou nemen.
Dit is niet het eerste idee om de temperatuur van het oppervlaktewater omlaag te brengen en ondanks dat het idee wel plausibel is, aldus David Nolan, professor meteorologie en oceanografie, is het de gigantische schaal waarop het toegepast moet worden die roet in het eten gooit. Bill Gates mag verder een rijk man zijn, één van de patenten omschrijft ook een manier om het project te financieren. Zowel verzekeraars in orkaangebieden als de lokale en overkoepelende overheden moeten het geld ophoesten. Of het idee ook echt wordt doorgezet is nog onduidelijk.
