Apple heeft een patentaanvraag ingediend voor verwijderbare strips met led's die in computerschermen gestoken kunnen worden. De fabrikant hoopt zo reparaties van schermen met een led-backlight minder kostbaar te maken.
Het is de bedoeling dat alle schermen van Apple van led-backlights voorzien worden. De voordelen ten opzichte van ccfl's zijn dat ze veel dunner zijn en minder energie verbruiken. Bovendien moet vaak het hele paneel vervangen worden als een ccfl kapot gaat. "Sommige leds kunnen echter een kortere levensduur hebben dan een ccfl en het vervangen van een compleet scherm vanwege één kapotte led is een kostbare aangelegenheid", zo schrijft Apple in de patentaanvraag die Appleinsider wist op te duikelen.
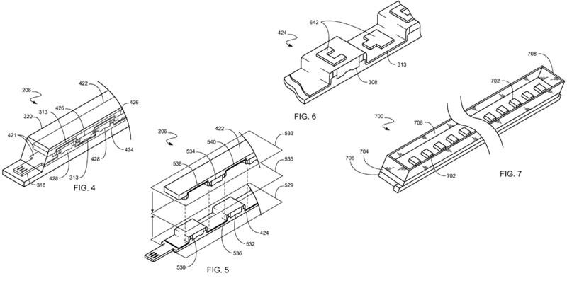
De oplossing die Apple voorstelt is om de leds op strips te plaatsen die eenvoudig via de zijkant van het scherm te verwijderen zijn. "Als de strips of delen ervan kapot gaan, kunnen ze eenvoudig en goedkoop vervangen worden", stelt het bedrijf. Apple denkt bovendien dat nieuwe technologie eenvoudig aan schermen toegevoegd kan worden door oude strips door nieuwere generaties te vervangen.
De strips zouden volgens Apple flexibel kunnen zijn en voorzien moeten worden van een contactpunt voor de energievoorziening. De leds zouden zich op gelijke afstand van elkaar moeten bevinden en dankzij de flexibele strip op elkaar gevouwen in het scherm verwerkt kunnen worden.
:fill(white)/i/1212148345.jpg?f=thumb)
:fill(white)/i/1212148346.jpg?f=thumb)