Anderhalf jaar na het invoeren van de aanvraag heeft Apple een nieuw patent gepubliceerd gekregen. Het patent is voor een mechanische overlay die gebruikt kan worden bij aanraakgevoelige apparaten. Dit zou ervoor kunnen zorgen dat de bediening van bijvoorbeeld iPods, laptops en mobieltjes in de toekomst drastisch veranderd wordt.
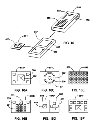
De eerste plaatjes lijken veelbelovend en laten een verscheidenheid aan mogelijkheden zien. Zo zouden er - op de plek waar normaalgesproken de touchpad zich bevindt bij een MacBook - ook andere besturingsmogelijkheden kunnen worden geplaatst, zoals een joystick of een draaiknop. Het patent beschrijft de werking als volgt: elke overlay heeft zijn eigen identificatie-onderdeel die door het aanraakgevoelige apparaat kan worden gedetecteerd - waarna het apparaat zichzelf zal configureren op basis van de interface die is gebruikt.
Het blijft echter niet alleen bij touchpads, want het patent beslaat nog meer grond. Zo zou het zelfs mogelijk kunnen zijn dat in de toekomst het toetsenbord van een laptop met een eenvoudige handeling kan worden vervangen door bijvoorbeeld een mixpaneel of een keyboard (muziekinstrument). Een 'blanco' iPod zou met behulp van deze techniek kunnen worden uitgebreid tot een zeer veelzijdig apparaatje. Door simpelweg de besturing ervan te vervangen door iets anders kan de iPod immers een totaal andere functie krijgen. Wel moet er vermeld worden dat Apple geregeld patent aanvraagt op technologiën die nooit het daglicht te zien krijgen, dus het is nog maar de vraag of we nog iets van deze techniek zullen horen binnen afzienbare tijd.
