Microsoft wil zijn eerder uitgelekte 'Sebile'-controller tegelijkertijd met zijn volgende generatie Xbox-consoles uitbrengen. Dat schrijft Jez Cordon van Windows Central. De controller zou op basis van een recent patent geavanceerdere haptische feedback bevatten.
Cordon schrijft dat Microsoft nog steeds werkt aan een Universal Controller met de codenaam Sebile. Volgens de Windows Central-journalist moet de controller gelijktijdig met de volgende generatie Xbox-consoles verschijnen, al is het niet duidelijk of deze bij de consoles wordt geleverd of alleen los beschikbaar komt.
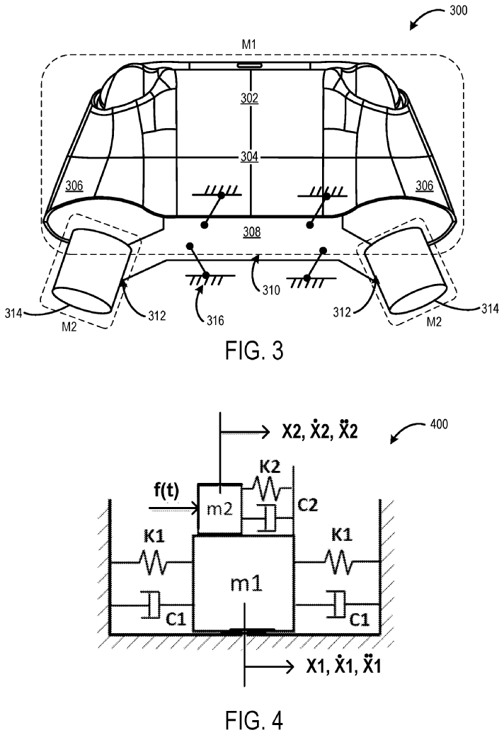
Cordon haalt ook een patent aan dat Tech4Gamers donderdag had ontdekt. Daarin wordt de haptische feedback van de Sebile-controller uitgediept. Volgens het patent zitten de trilmotoren over de hele controller verspreid en kunnen ze door de behuizing bewegen in plaats van op een vaste plek te blijven. De 'high-definition'-trillingen zouden een groot aantal geluiden en bewegingen kunnen nabootsen. Ook moeten gebruikers de trillingen naar smaak kunnen afstellen.
Het bestaan van de controller werd vorig jaar al duidelijk uit geopenbaarde rechtbankdocumenten. Op basis van die documenten krijgt de controller ondersteuning voor Bluetooth 5.2, is de accu van de controller verwijderbaar en zijn de thumbsticks modulair. Destijds werd vermeld dat de controller in mei 2024 zou moeten verschijnen, maar sindsdien is er niets meer van vernomen. In de documenten waren er ook vernieuwde versies van de Series X en S te zien, onder de codenamen Ellewood en Brooklin, maar die zijn volgens Cordon waarschijnlijk geannuleerd.
:strip_exif()/i/2006109466.jpeg?f=imagenormal)