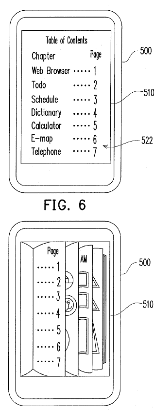
HTC wil in de toekomst de interface van toestellen wellicht laten zien als virtueel boek. Door pagina's om te slaan, zouden dan opties, applicaties of foto's bekeken kunnen worden. Dat blijkt uit een patentaanvraag die HTC heeft ingediend.
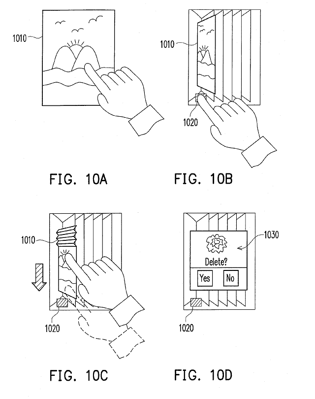
De bladzijdes van het virtuele boek kunnen worden omgeslagen door een tik op het scherm of een beweging, die door de smartphone wordt gedetecteerd, staat in de patentaanvraag die donderdag is gepubliceerd.
Het virtuele boek moet volgens HTC eenheid brengen in de interface, omdat beginnende gebruikers snel de weg zouden kunnen kwijtraken, waardoor ze bepaalde programma's of functies niet kunnen vinden. Door de interface te doen lijken op een traditioneel boek, zouden beginnende gebruikers de weg in de interface makkelijker moeten kunnen vinden. Gedownloade programma's zouden als nieuwe pagina's in het boek verschijnen.
HTC houdt zich veel bezig met het ontwerpen van software-interfaces. HTC ontwierp al eerder TouchFlo en TouchFlo3D als schil om Windows Mobile. Met de HD2 is daar Sense bij gekomen. Sense draaide al als schil om de Android-toestellen Hero en Tattoo heen. Het is onbekend of en wanneer het virtuele boek als interface op HTC-toestellen terug te vinden zal zijn. Het patent is nog niet toegekend.
/i/1256914559.png?f=thumb)
/i/1256914560.png?f=thumb)
/i/1256914561.png?f=thumb)
/i/1256914562.png?f=thumb)
/i/1256914563.png?f=thumb)