Autel Robotics, een Amerikaans bedrijf dat in Chinese handen is, lijkt een overwinning te hebben behaald in een patentzaak. Een Amerikaanse rechter stelt dat DJI met zijn drones inbreuk heeft gemaakt en beveelt een importverbod aan voor verschillende DJI-drones.
Het Amerikaanse advocatenkantoor Steptoe, dat Autel juridisch heeft bijgestaan in deze zaak, noemt het een 'significante overwinning' voor Autel nu de hoogste bestuursrechter van de US International Trade Commission heeft bepaald dat DJI een Amerikaanse wet heeft overtreden. Het gaat om de Tariff Act of 1930, die DJI volgens de rechter overtreedt door drones te verkopen en importeren, terwijl DJI daarmee inbreuk maakt op een bepaald patent van Autel. Autel is een kleine dronefabrikant.
Op basis hiervan heeft de rechter aanbevolen dat in ieder geval de Mavic Pro, Mavic Pro Platinum, Mavic 2 Pro, Mavic 2 Zoom, Mavic Air, en de Spark niet meer in de VS geïmporteerd mogen worden. De rechter heeft ook een cease-and-desist-bevel uitgevaardigd om te voorkomen dat DJI deze producten nog kan verkopen voor zover ze al in de VS aanwezig zijn.
Het oordeel van de rechter moet nog worden bekrachtigd door de volledige commissie van de ITC. Als dat gebeurt, kunnen de genoemde drones al vanaf juli van de Amerikaanse markt verdwijnen. Autel heeft nog een petitie lopen om het oordeel ook te laten gelden voor andere DJI-drones, zoals de Phantom 4 en de drones uit de Inspire-reeks. Mocht het oordeel bekrachtigd worden, rest DJI weinig anders dan een overeenkomst met Autel te sluiten of het ontwerp van zijn drones aan te passen.
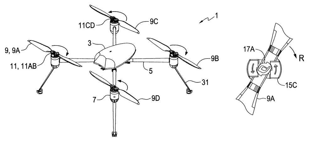
Het bewuste patent genaamd 'Compact unmanned rotary aircraft' gaat over de manier waarop de propellers aan de motoren worden bevestigd en vastgezet. Het patent beschrijft ook het gebruik van vouwbare armen om een drone van de grond te krijgen.
/i/2003599146.png?f=imagenormal)