Apple heeft een patentaanvraag ingediend waarop een Smart Cover-hoes met een ingebouwd scherm te zien is. Het secundaire scherm is verbonden met de iPad, en kan daardoor ook samen met het tablet-scherm worden gebruikt.
Patentaanvraag nummer 20120194448 werd een jaar geleden ingediend bij de Uspto en is ontdekt door Engadget. De besproken techniek wordt door Apple 'cover attachment with flexible display' genoemd; het lijkt daarmee te gaan om een nieuwe versie van de Smart Cover-accessoire die Apple al eerder voor de iPad uitbracht.
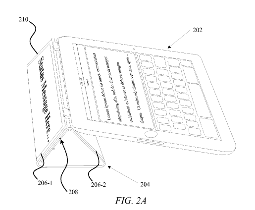
Op de afbeeldingen is te zien dat wanneer de iPad-hoes wordt uitgeklapt, er een secundair scherm zichtbaar wordt dat zich naast het tablet-scherm bevindt. Het scherm op de Smart Cover kan voor verschillende dingen worden ingezet: er kunnen bijvoorbeeld extra applicatie-iconen worden weergegeven, maar het is ook mogelijk om het scherm in te zetten als virtueel toetsenbord.
Omdat de Smart Cover opgevouwen kan worden, is een flexibel scherm noodzakelijk. Er zijn nog maar weinig producten op de markt die over een dergelijk scherm beschikken. Een aantal bedrijven, waaronder concurrent Samsung, is wel bezig met de productie van dergelijke schermen. Het is nog onduidelijk wie de benodigde flexibele panelen voor Apple zou leveren, maar het is ook nog niet zeker dat Apple daadwerkelijk een dergelijke Smart Cover met secundair scherm zal uitbrengen: patentaanvragen leiden lang niet altijd tot een productrelease.
/i/1343908534.png?f=thumb)
/i/1343908535.png?f=thumb)
/i/1343908536.png?f=thumb)