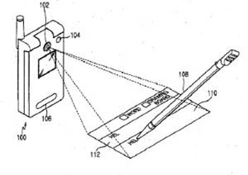
Samsung heeft zojuist patent aangevraagd op een 'virtueel scherm' voor mobiele telefoons. Dit maakt gebruik van een mini-projector in de telefoon, die het schermbeeld op een plat vlak projecteert. Met behulp van een speciale pen, waarvan de bewegingen door het toestel kunnen worden gevolgd, kan de gebruiker vervolgens op dit vlak 'schrijven'. Met de van PDA's bekende technologie kan dit handschrift vervolgens naar elektronische tekst worden omgezet. De volledige tekst van de patentaanvraag is hier te vinden. Waarschijnlijk is alle moeite voor niets geweest, want iets dergelijks bestaat allang.
