Samsung Display heeft een patent verkregen op een drone die het zelf aanduidt als een flying display device. Het apparaat is voorzien van een scherm en volgens de Zuid-Koreaanse fabrikant moet het een bewegende gebruiker volgen.
LetsGoDigital merkte het patent op en uit het document is op te maken dat Samsung dit aan het begin van 2016 heeft aangevraagd. Het bedrijf schrijft als onderbouwing dat lcd's het nadeel hebben dat er beperkingen zijn als het gaat om positie en kijkhoeken. De drone moet die tekortkomingen niet hebben, doordat hij het de schermpositie op de blik van de kijker kan aanpassen. Daarbij moet het apparaat de gebruiker automatisch kunnen volgen, zonder dat daar handelingen voor nodig zijn.
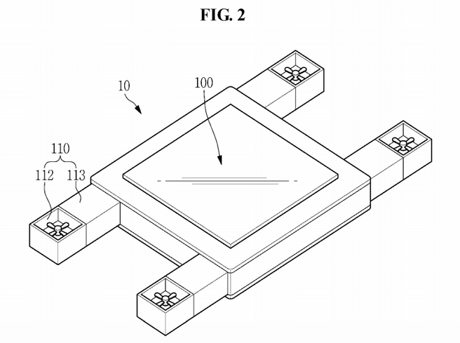
Het scherm kan volgens Samsung bestaan uit een display unit die verschillende vormen kan aannemen, zoals een tv, smartphone of e-reader. Ook de positie van de propellers staat nog niet helemaal vast, maar kan naast de quadcopter-opstelling ook een andere configuratie aannemen. Het apparaat moet over verschillende verbindingsmogelijkheden en sensoren beschikken, zoals wifi, een camera en een microfoon.
Daarmee moet de drone niet alleen gezichten kunnen herkennen, maar moet bijvoorbeeld besturing met behulp van gebaren ook tot de mogelijkheden behoren. Zoals met alle patentaanvragen betekent de toekenning van een uitvinding niet dat een fabrikant er ook daadwerkelijk een product van zal maken, maar biedt een patent inzicht in ideeën van fabrikanten.
