De Taiwanese elektronicagigant Hon Hai, of Foxconn, heeft patent aangevraagd op een methode om een touchpad uit een notebook te verwijderen om dat vervolgens als draadloze muis te kunnen gebruiken. Niet bekend is of het bedrijf plannen heeft het in de praktijk te brengen.
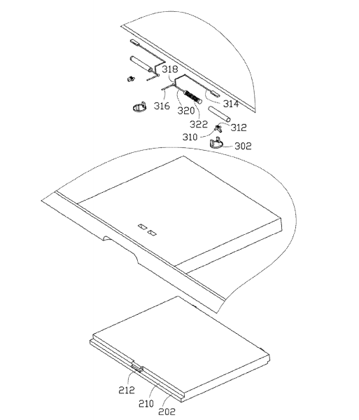
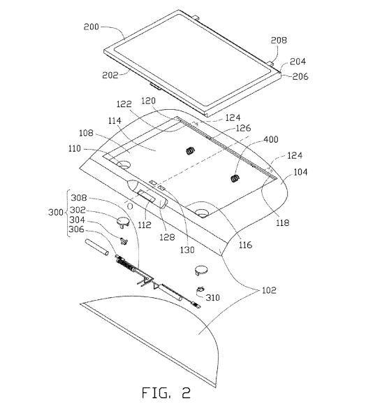
Niet iedere laptopgebruiker geeft de voorkeur aan het touchpad, maar tegelijkertijd beschikken maar relatief weinig laptops over een trackpoint en een extra muis meenemen heeft ook zijn nadelen. Foxconn heeft een oplossing bedacht in de vorm van een los te koppelen touchpad. In een patentaanvraag, ontdekt door Patent Bolt, beschrijft de elektronicagigant, die onder andere producten voor Apple, Dell en HP maakt, een mechanisme voor het verwijderen van een touchpad uit de houder.
Foxconn beschrijft verder niet hoe het touchpad als muis te gebruiken is, maar waarschijnlijk dient het aanraakgevoelige oppervlak nog steeds voor de muiswijzer gebruikt te worden, vergelijkbaar met Apples Magic Trackpad en Magic Mouse of Microsofts Touch Mouse. Aan de ene kant lijkt de kans niet groot dat de vinding daadwerkelijk in een product verwerkt zal worden, nu laptops en touchpads steeds dunner worden. Aan de andere kant leunt bijvoorbeeld Windows 8 erg op de werking van een goed aanraakgevoelig oppervlak en biedt een verwijderbaar touchpad hier mogelijk flexible extra mogelijkheden voor.
Update 16.15: Acer gebruikte een vergelijkbaar concept voor zijn Ethos 5951G.
/i/1356187933.png?f=thumb)
/i/1356187935.png?f=thumb)
/i/1356187937.png?f=thumb)